TUR T1-25(3P+N/275)模塊電涌TUR T1-25(3P/275)
閱讀次數:1794 發布時間:2020-11-26

TUR T1-25(3P+N/275)模塊電涌TUR T1-25(3P/275)概述
工業TUR T1-25(3P/275)電涌保護電路的原理和設計是一種交流電網電壓峰值保護電路。然而,交流電網線路沒有特殊限制。TUR T1-25(3P+N/275)、TUR T1-25(3P/275)浪涌保護器或浪涌保護器是一種提供浪涌抑制或電壓尖峰抑制的裝置,因此不會損壞敏感設備。
浪涌SPD可以處理高達幾千伏的電壓尖峰(取決于SPD的類型)。有些TUR T1-25(3P/275)浪涌抑制器只能承受幾百伏的電壓,以此類推。雖然SPD設計用于在短時間內承受高壓尖峰,但它不能承受更長的持續時間。
浪涌保護裝置主要型號包含
TUR T1-25(3P+N/275)、TUR T1-25(3P/275)、TUR T1-50(3P+N/275)、TUR T1-50(3P/275)、TUR T1-75(3P+N/275)、TUR T1-75(3P/275)
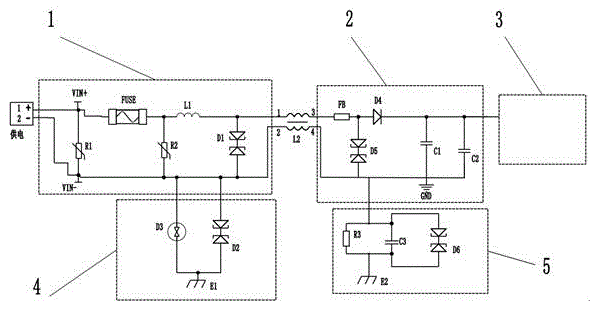
接線圖參考

TUR T1-25(3P+N/275)模塊電涌TUR T1-25(3P/275)在九小場所中的應用
隨著電力系統可靠性和自動化要求的不斷提高,無論是發電、輸電、配電還是用電,都對監測、控制、保護等方面的自動化和智能化提出了要求。TUR T1-25(3P+N/275)浪涌保護器的自動化和智能化是電力系統中最重要的控制元件,是智能電氣設備的基礎,利用電弧本身的能量,實現運行狀態的自診斷和操作機構的可控運行,配置最新的傳感器技術、微電子技術和信息傳輸技術,使智能化的概念相對完整。
電涌TUR T1-25(3P+N/275)是電力系統中應用最廣泛、最重要的保護設備之一。在供配電系統中,用于分配電能,保護線路和電力設備不受過載、欠壓、短路、單相接地等故障的影響。然而,傳統的低壓斷路器采用功能單一的電磁或電子控制器,只能控制斷路器跳閘,且時限曲線非常簡單。
隨著現場總線技術的發展,TUR T1-25(3P+N/275)浪涌防雷系統已由集中控制向分散控制轉變,具有智能化、模塊化、通信化的特點。通過基于現場總線的開放式通信接口,TUR T1-25(3P+N/275)實現保護分集、監測、測試、自診斷、顯示等功能,滿足集中監測和自動控制的要求。




